登录
认证
游戏
机因
问答
约战
闲游
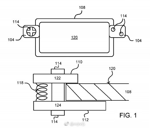
美国专利及商标局今日公开了一项微软于2017年注册的专利,其中出现了类似于Joy-con的可拆卸手柄。微软在描述中表示该设备可作为触屏装置的临时手柄使用,他们在之前曾通过3D打印的方式展示过它的模型。外媒认为该手柄旨在于xCloud流媒体服务推出后,提升移动设备上的游戏体验。
微博
goldwatch
2019-07-10 15:12 11回复
评论
我先来 丑得一逼
greeeen06h
2019-07-10 15:16
还好不是索尼,不然又要被黑了
dystopiaground1
2019-07-10 15:17
这档屏幕挡的,好一个“提升移动设备上的游戏体验”
yeeyui
2019-07-10 15:20
以后都是全面屏手机了,哪来的位置给你卡手柄。不过仔细一看是两年前申请的专利,那就无所谓了
rrobinvip
2019-07-10 15:25
任天堂可以搭搭顺风车啊,花点钱用一下微软这个专利好好改良一下自家的joycon
hello__berial
2019-07-10 15:51
演示游戏是我最爱的泰坦!
fallenevangel
2019-07-10 15:58
看着就感觉手感很烂...
jk--11--
2019-07-10 16:05
难道你们没有手机吗?
aliante2015
2019-07-10 16:07
@rrobinvip
除非有18:9选项,否则还的确有位置给你卡。左右黑边那块
xlphxj
2019-07-10 16:08
哈哈哈哈真的好怪啊
aiolis_
2019-07-10 16:24
@dystopiaground1
索尼早就有类似的产品和专利了
wyyu
2019-07-10 16:41
回复不能
goldwatch
贵宾 Lv.3
T